安德魯信重工江蘇有限公司總代理
地址:江蘇省江陰市澄江東路3號
電話:0510-86199978 86199979
傳真:0510-86199980
郵箱:sales@andrewen.com
網址:www.27068.cn
MS系列可調多軸頭
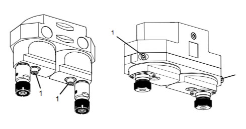
用于鉆孔、攻絲和锪孔 可與傳統機床配合使用 主體由熱處理鋁合金制成 小巧輕便 * MS:鉆孔、攻絲/鉆孔、螺紋切削 要設置合適的主軸之間的距離,請松開每個主軸單元上的螺釘 1 并沿相同方向旋轉,直到達到所需的距離。 調整主軸以平衡加工過程中的力。然后使用扭矩扳手夾緊每個主軸的螺釘 1。
MS系列的特點
1軸多軸頭
模型 主軸 聯系 轉速 最大牛米 重量 MS8-1 ER8 法蘭 3,500 28 牛米 0.5公斤 MS11-1 ER11 法蘭 3,000 56 牛米 1.8公斤 MS16-1 ER16 法蘭 3,000 53牛米 3.3公斤 MS20-1 ER20 法蘭 3,000 53牛米 2.5公斤 MS25-1 ISO25 法蘭 2,500 64 牛米 4.4公斤 多主軸頭帶 2 個主軸
模型 主軸 聯系 轉速 最大牛米 重量 MS8-2 ER8 法蘭 3,500 70 牛米 0.9公斤 MS11-2 ER11 法蘭 3,000 130牛米 12.4公斤 MS16-2 ER16 法蘭 3,000 124牛米 3.3公斤 MS20-2 ER20 法蘭 3,000 135牛米 3.6公斤 MS20-2 ER20 法蘭 2,000 170 牛米 9.5公斤 MS25-2 ER25 法蘭 2,500 165 牛米 6.3公斤 MS25-2 ER25 法蘭 2,000 201牛米 12公斤 3錠多錠頭(直頭)
模型 主軸 聯系 轉速 最大牛米 重量 MS8-3L ER8 法蘭 3,500 83牛米 1公斤 MS11-3L ER11 法蘭 3,000 148 牛米 2.8公斤 MS16-3L ER16 法蘭 3,000 149 牛米 3.6公斤 MS20-3L ER20 法蘭 3,000 169 牛米 4.9公斤 MS25-3L ISO25 法蘭 2,500 207 牛米 7.7 公斤 3錠多錠頭(三角形)
模型 主軸 聯系 轉速 最大牛米 重量 MS8-3 ER8 法蘭 3,500 76 牛米 1.3公斤 MS11-3 ER11 法蘭 3,000 145牛米 3.5公斤 MS16-3 ER16 法蘭 3,000 136 牛米 4.9公斤 MS20-3 ER20 法蘭 3,000 148 牛米 5.5公斤 MS25-3 ISO25 法蘭 2,500 181牛米 9.2公斤 4錠多錠頭
模型 主軸 聯系 轉速 最大牛米 重量 MS8-4 ER8 法蘭 1,750 87 牛米 1.8公斤 MS11-4 ER11 法蘭 3,000 161 牛米 4.6公斤 MS16-4 ER16 法蘭 3,000 155牛米 6.6公斤 MS20-4 ER20 法蘭 3,000 169 牛米 7.5公斤 MS25-4 ISO25 法蘭 2,500 207 牛米 12.2公斤 


* MF:銑削、鉆孔、攻絲/銑削、鉆孔、螺紋切削調整


多主軸頭圖

機器連接和電壓選項






2384326522